Характеристики
Отзывы
Характеристики
Бренд
Lightstar
Материал Арматуры
Металл
Материал плафонов
Металл
Вид рассеивателя
Плафон
Форма рассеивателя
Конусный
Цвет
Черный
Цвет арматуры
Черный
Цвет плафонов
Черный
Степень защиты
IP20
Интерьер
Для магазина
Место установки
На потолок
Страна бренда
Италия
Тип цоколя
0.463
Тип лампочки (основной)
GU10
Количество ламп
Галогеновая
Мощность лампы, W
1
Общая мощность, W
50
Напряжение, V
50
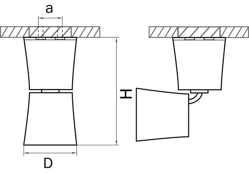
Диаметр врезного отверстия, мм
68
Подходит для натяжных потолков
Да
Виды материалов
Металлические
Отзывы
Отзывов еще никто не оставлял
